DAR AL MADINA

AMMAN

Vision

To establish a unified, dignified, and historically grounded visual identity for the historic heart of Amman, transforming it into a coherent cultural district that reflects Jordan’s civilizational depth, enhances daily urban life, and strengthens the global image of the capital — without erasing its authenticity.

Strengthening Jordan’s National & Global Image

To present Amman as a culturally confident, historically rooted capital with a clear visual identity.

Revitalizing the Historic City Core as a Living District

To transform the historic heart of Amman into a functional, attractive urban district for daily life.

Establishing Visual Governance for Historic Urban Areas

To move from isolated upgrades to a regulated visual framework for historic zones.

Creating a Scalable Pilot Model for National Urban Development

To test, refine, and expand a phased identity model across Amman and other Jordanian cities.

 
Reconnect with your body and mind as you escape the noise of everyday life.

Local Production & Craft-Led Development Model

The Problem (Short & Direct) Overhead electrical and service lines represent one of the most visually disruptive and symbolically negative elements within Amman’s historic core. • Severe visual clutter • Perception of informality and lack of regulation • Safety and maintenance concerns • Undermines heritage value and visitor experience Traditional solutions present challenges: • Full undergrounding: high cost, long disruption, archaeological risk • Status quo: visually unacceptable for a flagship cultural district

Infrastructure Challenge: Overhead Electrical & Service Lines

Pilot Solution for the Historic Core

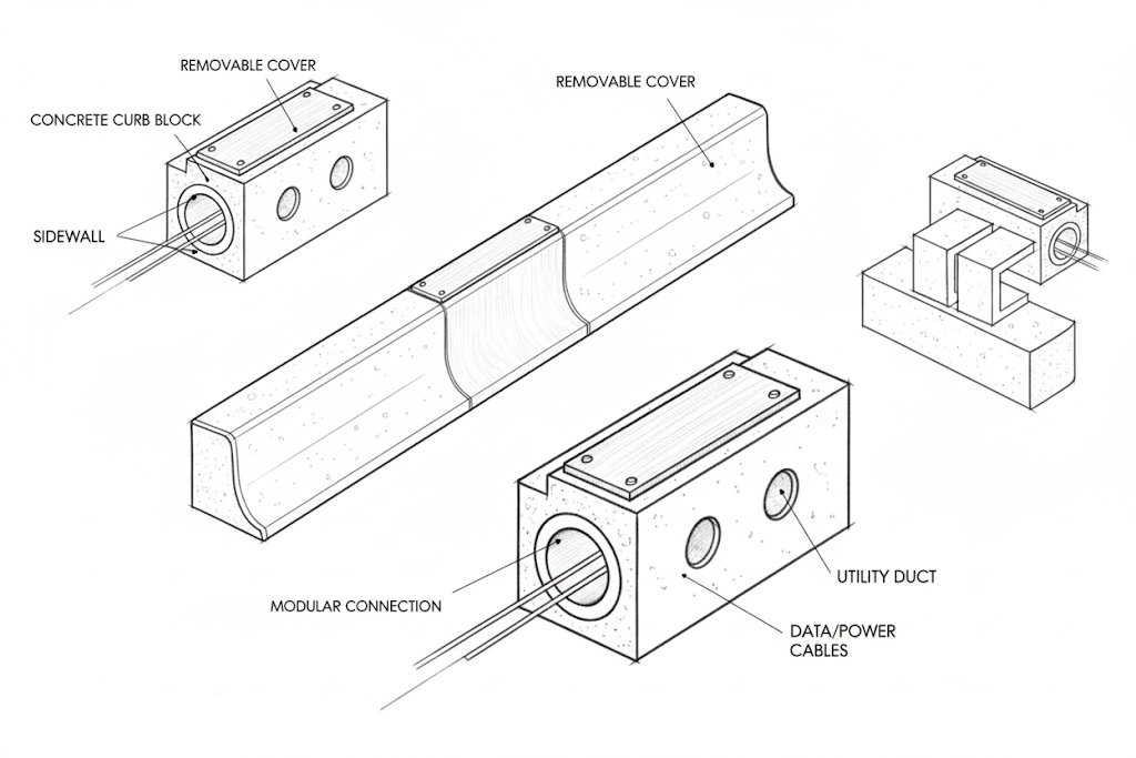
Surface-Level Integrated Utility Duct System

A surface-level, concealed utility routing system, integrated within sidewalk edges and curb stones, using protected service ducts and access channels.

What This System Carries

• Street lighting cables

• Low-voltage electrical lines

• Signage power

• CCTV / security lines

• Future Wi-Fi or smart-city cabling

Why This Solution Is Appropriate for the Pilot Phase

1. Cost-Effective

• No deep excavation

• Minimal interference with archaeology

• Lower construction and maintenance costs

2. Visually Clean

• Eliminates hanging cables

• Preserves historic façades

• Immediate aesthetic improvement

3. Accessible & Maintainable

• Easy access through curb-level panels

• Fast repairs

• No repeated street digging

4. Scalable & Expandable

• Designed as a linear system

• Can be extended street by street

• Perfectly aligned with Phase II & Phase III expansion

Pilot Application – Phase I

Scope:

• Main commercial street facing the Roman Theatre

• Approx. 400–500 meters

Implementation Logic:

• Entry and exit points at both ends of the pilot zone

• Gradual transition from overhead lines to integrated ducts

• Overhead infrastructure removed within the pilot boundary

Phase I acts as a proof of concept, not a citywide promise.

Strategic Value for Government

• Demonstrates innovation without financial risk

• Avoids long-term underground dependency

• Creates a repeatable infrastructure standard

• Aligns with heritage protection requirements


This approach transforms a long-standing urban weakness into a controlled, scalable infrastructure solution — without overburdening public finances or disrupting historic fabric.

The Issue

Unregulated attachments and visual clutter significantly degrade the architectural value and public perception of Amman’s historic core.

Common problems include:

• Oversized commercial banners covering stone façades

• Exposed air-conditioning units and drainage pipes

• Improvised electrical fixtures and lighting

• Random metal rods, brackets, and extensions

• Ad-hoc additions unrelated to the original building fabric

These elements:

• Damage historic materials

• Create visual chaos

• Undermine all renovation efforts

Façade Cleanliness & Visual Order Regulations

Restoring the Dignity of Historic Buildings

All buildings within the pilot zone are subject to a clear façade order policy.

What Is Not Permitted

• Large-scale banners obscuring architectural surfaces

• External AC units mounted on primary façades

• Visible drainage, exhausts, or cable clusters

• Unauthorized lighting fixtures

• Structural attachments without approval

What Is Required

• Clean, uninterrupted façades

• All services:

• concealed

• rerouted

• or screened using approved methods

• Signage integrated within approved shopfront systems

• Respect for original stone, openings, and proportions

  • "What I love most is the flexibility. I can go at my own pace, revisit lessons, and keep learning whenever it works for me."

    Former Customer

  • "Even as a total beginner, I never felt lost. The step-by-step structure and encouragement along the way made all the difference."

    Former Customer

  • "This has been such a worthwhile investment in myself."

    Former Customer

How It Works
  • Browse our upcoming events to find the one that feels right for you. We host events year-round in all different locations and climates.

  • Sign up and pay all required fees to reserve your spot. If plans change, you can cancel up to 14 days before the retreat start to receive a 50% refund.

  • After booking, we'll send you a Welcome Packet with everything you need to know—detailed schedules, packing list recommendations, add-ons to consider, and more.

  • We'd recommend booking your transportation to and from the event as soon as possible, to ensure you can arrive without any complications or delays.

  • Now all that's left to do is pack your bags and get excited for your new adventure.

Book Your Stay